ZRM臥式直接式燃氣熱風爐
- ZRM燃氣熱風爐熱風爐,是熱動力機械,于20世紀70年代末在我國開始廣泛應用,它在許多行業已成為電熱源和傳統蒸汽動力熱源的換代產品。熱風爐品種多、系列全,以加煤方式分為手燒、機燒兩種,以燃料種類分為煤
- 咨詢熱線:0519-88812792
ZRM燃氣熱風爐
熱風爐,是熱動力機械,于20世紀70年代末在我國開始廣泛應用,它在許多行業已成為電熱源和傳統蒸汽動力熱源的換代產品。熱風爐品種多、系列全,以加煤方式分為手燒、機燒兩種,以燃料種類分為煤、油、氣爐等。
產品原理:
燃料通過燃燒器燃燒,產生高溫燃氣。并借助具有強化換熱措施的熱風爐將高溫燃氣的熱量傳導給被加熱的空氣,高溫燃氣經熱量散發后溫度降低至250℃以下由引風機排放大氣。需加熱的空氣通過選配的鼓風機強送入熱風爐,吸熱后溫度升至額定值從熱風出口送出,當熱風溫度達到額定的上限溫度時,燃燒器會自動停止燃燒或自動轉為小火焰燃燒;當熱風溫度降低到額定的下限溫度時,燃燒器又會重新點燃運行或轉為大火燃燒,升溫的速度可調進風閥來實現。

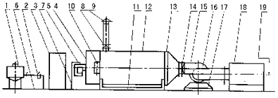
結構圖:
|
|
| 1.儲油槽 2.總閥濾油器 3.控制箱 4.燃燒器 5.燃燒器座 | 6.油管 7.進油管 8.雨帽 9.煙囪 10.熱風出口 | 11.機座 12.熱交換器 13.進風蓋 14.軟接管 15.接管 | 16.送風機 17.風機減振座 18.空氣過濾器 19.冷空氣進入 |
備注:燃氣機沒有1、2、6
| 應用: |
| 熱風爐在各工業領域應用舉例金屬表面涂裝,制藥工業,糧食加工業,食品工業,木材加工工業,紡織印染,化工工業,汽車工業 ,噴塑噴漆后的高溫固化,中草藥材烘干,糧食干燥淀粉干燥 ,餅干烘烤、方便面、掛面烘干、傳送帶式烘干機,木材干燥、纖維板、多合板烘干,印花烘干、熱定型、熱風拉幅,化工原料干燥,隧道式烘房 . |
技術參數:
| 規格型號 | 輸出熱量J/h | 輸出溫度℃ | 燃料消耗Kg/h |
| REY-2.5 | 1.04×108 | 60~200 | 4~5 |
| REY-4 | 1.67×108 | 60~200 | 6~7 |
| REY20-8 | 3.34×108 | 60~200 | 11.5~13.5 |
| REY-15 | 6.27×108 | 60~250 | 21.5~25 |
| REY-30 | 12.5×108 | 60~250 | 43~50 |
| REY-40 | 16.7×108 | 60~250 | 57~67 |
| REY-60 | 25.1×108 | 60~250 | 86~100 |
| REY-80 | 33.4×108 | 60~350 | 114~135 |
| REY-160 | 66.9×108 | 60~350 | 228~270 |
| REY-200 | 83.6×108 | 60~350 | 286~334 |